弯头,三通,四通(Threaded Elbow&Tee&Cross)

弯头,三通,四通简介:

螺纹弯头在管路系统中是改变管路方向的管件。按角度分,有45°及90°,另外根据工程需要还包括60°等其他非正常角度弯头。螺纹弯头的材料有碳钢、不锈钢、合金钢等。根据客户要求也可加工成内外丝弯头。

螺纹三通在制作工艺中分为锻制和铸造两种,锻制是指用钢锭或圆棒加热锻打成型后,上车床加工螺纹后而成,铸造是指将钢锭熔化后倒入三通的模型后,待其冷却后而成。因为制造工艺的不同,其承受压力的大小也不同,锻制的耐压要远高于铸造的。

螺纹四通是工业用管道配件的一种,其主要功能是对所经过的介质进行分流。在制作工艺中分为锻制和铸造两种。螺纹四通的主要制造标准一般有GB/T14383、ASME B16.11、BS 3799。

广泛用于国内大型电站配套工程,海水、蒸汽、冷水、热水、氧气、饮水、制冷、油、燃气、医用气体污水处理工程,市政工程,化工,炼油,冶金,化肥,造纸,医药等行业等。


弯头,三通,四通实物图:(网上产品图片仅供参考,交货按实物为准)

image.pngimage.pngimage.pngimage.png


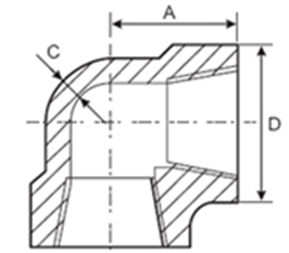
螺纹弯头、三通、四通结构图  (Threaded Elbow、Tee、Cross Structure)

1646302188552711.png1646302201900066.png1646302210985274.png1646302220320794.png

45°弯头

45°Elbow

90°弯头

90°Elbow

三通

Tee

四通

Cross


弯头,三通,四通参数表

公称通径

Nominal Diameter 

中心至端面 Center to End

外径Outside Diameter D

壁厚Wall Thickness

螺纹长度Length of Thread  

A

D

Cmin

弯头、三通、四通Elbow、Tee、Cross

45°弯头45°Elbow

DN

NPS

2000LB

3000LB

6000LB

2000LB

3000LB

6000LB

2000LB

3000LB

6000LB

2000LB

3000LB

6000LB

NPT

Rc

Sch80

Sch160

XXS

Sch80

Sch160

XXS

Sch80

Sch160

XXS

Sch80

Sch160

XXS

6

1/8

21

21

25

17

17

19

22

22

25

3

3

6.5

6.5

6.5

8

1/4

21

25

29

17

19

22

22

25

33

3

3.5

6.5

8

10

10

3/8

25

29

33

19

22

25

25

33

38

3

3.5

7

9

10.5

15

1/2

29

33

38

22

25

29

33

38

46

3

4

8

11

13.5

20

3/4

33

38

44

25

29

33

38

46

56

3

4.5

8.5

12.5

14

25

1

38

44

51

29

33

35

46

56

62

3.5

5

10

14.5

17.5

32

1.1/4

44

51

60

33

35

43

56

62

75

4

5.5

10.5

17

18

40

1.1/2

51

60

64

35

43

44

62

75

84

4

5.5

11

18

18.5

50

2

60

64

83

43

45

52

75

84

102

4.5

7

12

19

19

65

2.1/2

76

83

95

52

52

64

92

102

121

5.5

7.5

15.5

23.5

29

80

3

86

96

106

64

64

79

110

121

146

6

9

16.5

26

30

100

4

106

114

114

79

79

79

146

152

152

6.5

11

18.5

27.5

33

上述尺寸符合GB/T14626、ANSI B16.11、BSP3799标准

Above dimensions acc.to the standard of GB/T14626、ANSI B16.11、BS3799

备注(note):客户定货时需注明螺纹型号